Опора ПОд161 деревянная промежуточная ответвительная двухцепная IEK

Артикул:
Основные характеристики
| Вид решения | Деревянная |
| Наименование решения | Опоры |
| Группа опоры | Промежуточная |
| Тип опоры | Ответвительная |
| Количество цепей | Двухцепная |
Описание
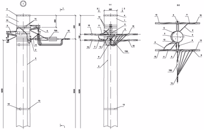
В составе проекта разработаны деревянные опоры ВЛИ 0,4кВ в соответствии с требованиями ПУЭ 7 издания. Опоры ВЛИ 0,4кВ разработаны на базе деревянных стоек длиной 9,5м, 11м, 12м. Одно и двухцепные опоры могут применяться в I-IV районах по ветру и гололёду. На всех типах опор предусмотрена возможность ответвления к вводам в здания в одну и в две стороны от ВЛ двух, четырех и 2х2 жил СИП. Опора ПОд161 устанавливается в случаях, когда требуется выполнять повторные заземления и заземления для защиты от атмосферных перенапряжений.
Преимущества
- Соответствие требованиям стандарта СТО ПАО РОССЕТИ.
- Сотрудничество с ведущими российскими энергетическими компаниями.
- Возможность внесения изменений в любое решение силами технических специалистов ГК IEK.
- Короткие сроки поставки компонентов решения обеспечиваются наличием широкой складской и партнёрской сети.

Технические характеристики
| Вид решения | Деревянная |
| Наименование решения | Опоры |
| Группа опоры | Промежуточная |
| Тип опоры | Ответвительная |
| Количество цепей | Двухцепная |
| Марка опоры | ПОд161 |
Комплектация
| Артикул | Наименование | Кол-во |
|---|---|---|
| UZA-11-D02-D35 | Зажим ответвительный изолированный ЗОИ 16-95/2,5-35 (P 645, P2X-95, SLIW15.1) IEK | 5 |
| UKA-31-D16-D95 | Комплект промежуточной подвески КОПМ 1500 (ES 1500, SO 260) IEK | 2 |
| UKA-12-1500-4000 | Кронштейн анкерный КАМ-4000 (CA 1500/2000, SO 253) IEK | 1 |
| UZA-14-D95-2000 | Зажим анкерный ЗАН 70-95/2200 (PA 95-2000) IEK | 1 |
| UZA-11-D35-D150-1 | Зажим ответвительный изолированный ЗОИ 35-150/35-150 IEK | 5 |
| UZA-L50 | Лента бандажная ЛМ-50 (F 2007, COT37, F207, 50 метров в упаковке) IEK | 11 |
| UZA-14-D50-D70-1500 | Зажим анкерный ЗАН 50-70/1500 (PA 1500) IEK | 1 |
| UZA-51-100 | Скрепа-бугель усиленная СУ-20 (COT36) (100шт/упак) IEK | 11 |
| UZP-11-S06-S095 | Зажим плашечный ЗП 6-95/6-95 (SL37.27) IEK | 2 |
| UHH21-D9-260-100 | Хомут для СИП ХС-260 (100шт/упак) IEK | 5 |
| UHH21-D6-180-100 | Хомут для СИП ХС-180 (100шт/упак) IEK | 5 |
| UZSG-16-S10-120-S25-95 | Зажим ЗСГП 35-120/25-95 (CDR/CN 1S 95 UK) IEK | 2 |
Документация
Дополнительные изображения
Модели для проектировщиков